Đáp án bài tập trang 71-72-73 vbt vật lí 6
1. Bài tập trong SBT
20.1. Trong các cách sắp xếp các chất nở vì nhiệt từ nhiều tới ít sau đây, cách sắp xếp nào là đúng?
A. rắn, lỏng, khí
B. rắn, khí, lỏng
C. khí, lỏng, rắn
D. khí, rắn, lỏng
20.2. Khi chất khí trong bình nóng lên thì đại lượng nào sau đây của nó thay đổi?
A. Khối lượng.
B. Trọng lượng.
C. Khối lượng riêng.
D. Cả khối lượng, trọng lượng và khối lượng riêng.
20.3. Hãy tiên đoán hiện tượng nào xảy ra khi dùng tay áp chặt vào bình cầu trong thí nghiệm vẽ ở hình 20.1 và 20.2. Làm thí nghiệm kiểm chứng và giải thích.

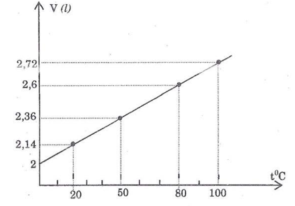
20.6. Người ta đo thể tích của một lượng khí ở nhiệt độ khác nhau và thu được kết quả sau:
| Nhiệt độ ( | 0 | 20 | 50 | 80 | 100 |
| Thể tích ( lít) | 2,00 | 2,14 | 2,36 | 2,60 | 2,72 |
Hãy vẽ đường biểu diễn sự phụ thuộc của thể tích vào nhiệt độ và nhận xét về hình dạng của đường này
- Trục nằm ngang là trục nhiệt độ: 1cm biểu diễn 10
C
- Trục thẳng đứng là trục thể tích: 1cm biểu diễn 0,2 lít
Bài làm:
20.1. Chọn C
Vì chất khí nở vì nhiệt nhiều hơn chất lỏng, chất lỏng nở vì nhiệt nhiều hơn chất rắn.
20.2. Chọn C.
Vì khối lượng riêng
khi chất khí trong bình nóng lên thì V tăng mà m không đổi nên D giảm.
20.3. Hình 20.1: giọt nước màu dịch chuyển sang bên phải. Vì khi áp chặt tay vào bình cầu, tay ta truyền nhiệt cho bình, không khí trong bình cầu nóng lên nở ra đẩy giọt nước màu dịch chuyển.
Hình 20.2: do không khí nở ra nên có một lượng không khí thoát ra ở đầu ống thủy tinh, tạo ra những bọt không khí nổi lên mặt nước.
20.6. Nhận xét : đồ thị là một đường thẳng:

Xem thêm bài viết khác
- Đáp án bài tập bổ sung trang 88-89 VBT vật lý 6
- Giải vở BT vật lí 6 bài: Sự nở vì nhiệt của chất rắn
- Giải vở BT vật lí 6 bài: Sự nở vì nhiệt của chất khí
- Giải vở BT vật lí 6 bài: Lực kế - Phép đo lực - Trọng lượng và khối lượng
- Đáp án bài tập trang 94 vbt vật lí 6
- Đáp án bài tập trang 35-36 vbt vật lí 6
- Giải vở BT vật lí 6 bài: Sự nóng chảy và sự đông đặc (tiếp theo)
- Giải vở BT vật lí 6 bài: Lực đàn hồi
- Đáp án bài tập bổ sung trang 73 VBT vật lý 6
- Giải vở BT vật lí 6 bài: Máy cơ đơn giản
- Đáp án bài tập trang 5 sbt vật lí 6
- Đáp án bài tập bổ sung trang 58 VBT vật lý 6