Trắc nghiệm vật lý 9 bài 30: Bài tập vận dụng quy tắc nắm tay phải và quy tắc bàn tay trái
Bài có đáp án. Câu hỏi và bài Trắc nghiệm vật lý 9 bài 30: Bài tập vận dụng quy tắc nắm tay phải và quy tắc bàn tay trái. Học sinh luyện tập bằng cách chọn đáp án của mình trong từng câu hỏi. Dưới cùng của bài trắc nghiệm, có phần xem kết quả để biết bài làm của mình. Kéo xuống dưới để bắt đầu.
Câu 1: Một dây dẫn AB có thể trượt tự do trên hai thanh ray dẫn điện MC và ND được đặt trong từ trường mà đường sức từ vuông góc với mặt phẳng MCDN, có chiều đi về phía sau mặt tờ giấy về phía mắt ta. Hỏi thanh AB sẽ chuyển động theo hướng nào?

- A. Hướng F2
- B. Hướng F4
- C. Hướng F1
- D. Hướng F3
Câu 2: Cho các trường hợp có lực điện từ tác dụng sau đây:

Các trường hợp có lực điện từ thẳng đứng hướng xuống trên hình vẽ gồm:
- A. a
- B. c, d
- C. a, b
- D. Không có
Câu 3: Cho các trường hợp có lực điện từ tác dụng sau đây:

Các trường hợp có lực điện từ nằm ngang hướng sang trái trên hình vẽ gồm:
- A. c, d
- B. a, b
- C. a
- D. Không có
Câu 4: Quan sát hình vẽ

Hãy cho biết chiều dòng điện và chiều của lực điện từ tác dụng lên đoạn dây dẫn CD đúng với hình nào trong các hình a, b, c hay d.
- A. Hình d
- B. Hình a
- C. Hình c
- D. Hình b
Câu 5: Cho các trường hợp có lực điện từ tác dụng sau đây:

Các trường hợp có lực điện từ nằm ngang hướng sang phải trên hình vẽ gồm:
- A. Không có
- B. c, d
- C. a
- D. a, b
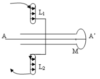
Câu 6: Mặt cắt thẳng đứng của một đèn hình trong máy thu hình được vẽ như trong hình vẽ. Tia AA' tượng trưng cho chùm electron đến đập vào màn huỳnh quang M, các ống dây L1, L2 dùng để lái chùm tia electron theo phương nằm ngang. Hỏi đường sức từ trong các ống dây L1, L2 sẽ hướng như thế nào?

- A. Từ L1 đến L2
- B. Từ L2 đến L1
- C. Trong L1 hướng từ dưới lên và từ trên xuống trong L2
- D. Trong L1 hướng từ trên xuống và từ dưới lên trong L2
Câu 7: Cho các trường hợp tác dụng của lực điện từ lên một đoạn dây dẫn có dòng điện chạy qua như hình vẽ sau:

Các trường hợp có dòng điện chạy xuyên vào mặt phẳng tờ giấy gồm:
- A. a, b, c
- B. a, b
- C. a
- D. Không có
Câu 8: Cho các trường hợp có lực điện từ tác dụng sau đây:

Các trường hợp có lực điện từ thẳng đứng hướng lên trên hình vẽ gồm:
- A. a, b
- B. c, d
- C. a
- D. Không có
Câu 9: Cho các trường hợp của lực điện từ tác dụng lên dây dẫn có dòng điện chạy qua như hình vẽ:

Các trường hợp có cực Bắc (N) ở phía bên phải gồm?
- A. a, b
- B. Không có
- C. a
- D. c, d
Câu 10: Mặt cắt thẳng đứng của một đèn hình trong máy thu hình được vẽ như trong hình vẽ. Tia AA' tượng trưng cho chùm electron đến đập vào màn huỳnh quang M, các ống dây L1, L2 dùng để lái chùm tia electron theo phương nằm ngang. Chùm tia electron chuyển động từ A đến A' thì lực điện từ tác dụng lên các electron có chiều như thế nào?

- A. Từ trên xuống dưới trong mặt phẳng tờ giấy.
- B. Thẳng góc với mặt phẳng tờ giấy và từ trước ra sau.
- C. Từ dưới lên trên trong mặt phẳng tờ giấy.
- D. Thẳng góc với mặt phẳng tờ giấy và từ sau ra trước.
=> Kiến thức Giải bài 30 vật lí 9: Bài tập vận dụng quy tắc nắm tay phải và quy tắc bàn tay trái
Xem thêm bài viết khác
- Trắc nghiệm vật lí 9 chương 3: Quang học (P6)
- Trắc nghiệm vật lý 9 bài 50: Kính lúp
- Trắc nghiệm vật lý 9 bài 11: Bài tập vận dụng định luật Ôm và công thức tính điện trở của dây dẫn
- Trắc nghiệm vật lí 9 chương 2: Điện từ học (P2)
- Trắc nghiệm vật lí 9 chương 4: Sự bảo toàn và chuyển hóa năng lượng (P3)
- Trắc nghiệm vật lý 9 bài 9: Sự phụ thuộc của điện trở vào vật liệu làm dây dẫn
- Trắc nghiệm vật lí 9 chương 1: Điện học (P5)
- Trắc nghiệm vật lý 9 bài 26: Ứng dụng của nam châm
- Trắc nghiệm vật lý 9 bài 52: Ánh sáng trắng và ánh sáng màu
- Trắc nghiệm vật lí 9 chương 3: Quang học (P1)
- Trắc nghiệm vật lý 9 bài 31: Hiện tượng cảm ứng điện từ
- Trắc nghiệm vật lý 9 bài 30: Bài tập vận dụng quy tắc nắm tay phải và quy tắc bàn tay trái